机械手表解析之无卡度摆轮
关注:36197  发布时间:2014-04-16  作者:曹维峰  来源:天津海鸥表业集团有限公司


       “无卡度摆轮”这种结构对于瑞士钟表来说已经是常用装备并且它的历史已经有上百年了,尤其是古董怀表可以见到各种千奇百怪的“无卡度”结构。如今此类结构更多的被应用到诸多知名品牌的机械手表当中,特别是以百达翡丽为代表的顶级机械手表当中。这里,让我们通过机械手表的计时原理来了解“无卡度”的基本概念以及它对于机械手表的计时精准度到底有什么改善,以至世界诸多的顶级品牌表青睐于此机构。

       根据钟表原理,机械手表摆轮游丝系统振动周期公式如下: 



(T:振动周期;π:圆周率;Jb:摆轮转动惯量;L:游丝长度;h:游丝厚度;b:游丝宽度;E:游丝的弹性模数) 


       根据此公式,我们可以知道机械手表的振动周期与游丝的工作长度和摆轮转动惯量成正比,即随着游丝的工作长度和摆轮转动惯量的数值变大,振动周期将随之变大,也就是说振动频率将变小,机械手表会走慢,反之则结论相反。为了将走快或者走慢的机械手表调整到标准频率,有两种调整结构可以采用:

       第一种是“有卡度”结构,它是通过调整快慢夹子的位置来改变游丝的有效长度从而达到改变摆轮游丝系统振动周期进而调整机械手表的走时误差;

       第二种就是我们前面已经提到过的“无卡度”结构,此结构的主要特点是取消了有卡度结构中的快慢针调校装置。并且通过调整摆轮外缘均布螺钉的进与出或者是可转动砝码的偏心位置,来改变摆轮转动惯量从而改变摆轮游丝系统的振动周期,进而调整机械手表的走时误差。

       这两种结构各有自己的优缺点,“有卡度”的优势在于调整相对简单便于在大批量生产中运用。而它存在的缺陷也很明显,那就是当表需要调整走时误差拔动快慢针时,为了便于调整,游丝在夹子活动范围内的那一段形状是以摆轴轴心为圆心的圆弧并且游丝与夹子之间要有一定的间隙。游丝在此间隙中会有三种状态:1.摆轮游丝系统振动时,游丝有时贴内夹,有时贴外夹;2.摆轮游丝系统振动时,游丝只贴到一夹(内夹或外夹),而不贴到别一夹;3.摆轮游丝系统振动时,游丝不贴内、外夹;而前两种情况是快慢针造成游丝力矩非线性的根本原因,也是有卡度机械手表通常的工作方式,根据钟表原理知道这将产生摆轮游丝系统的等时性误差,会直接影响手表的走时精度。

       “无卡度”结构的优势正是它取消了有卡度结构里影响机械手表计时精度的快慢针,克服了快慢针对于机械手表带来的等时性误差,取而代之的是把摆轮设计成为可调节其转动惯量的结构。一种是在摆轮外缘或者内缘设置螺钉或者是螺母,通过改变它们的离摆轮中心的位置远和近,从而改变摆轮的转动惯量;另一种是在摆轮靠近外缘的平面上设置可以转动的砝码,一般砝码是半圆形的,通过转动砝码的位置和砝码非圆性的偏心效应,从而改变摆轮的转动惯量。这两种结构最终的结果就是通过改变摆轮的转动惯量来改变振动周期,以达到可以调整机械手表走时快慢的目的。而无卡度结构由于调整的难度要高于有卡度结构只能小批量生产,但是它的优势是有卡度结构无法达到的,因此很多高档机械手表都采用此结构来调整走时精度,以便更容易达到瑞士的天文台计时精度标准。 

       下面我将为大家结合知名品牌的专利技术,分别讲解螺钉式无卡度摆轮与砝码式无卡度摆轮:

1.螺钉式无卡度摆轮

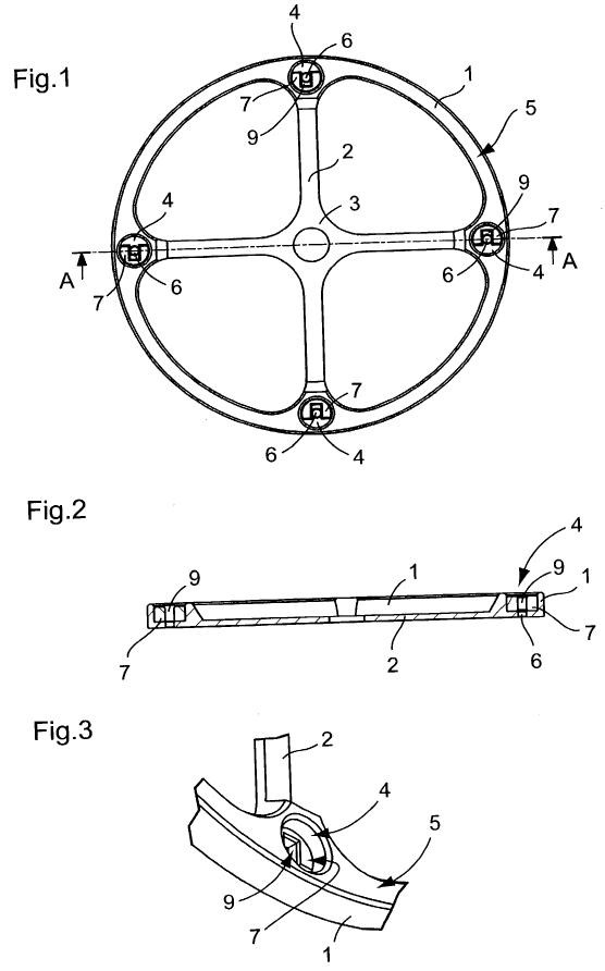
       首先,螺钉式无卡度摆轮的代表作应该是来自于1957年劳力士的专利技术,图中Fig1所示的是螺钉式无卡度摆轮,它由摆轮1和一对可调节的螺钉2以及其它不可调节的螺钉组成,Fig2显示可调节螺钉2螺钉帽2a和螺纹2c两部分构成,其中螺钉帽2a的形状为花瓣形2b,此设计意图是花形螺钉帽可以与专用调节工具5的花形孔6相互配合实现调节螺钉2,Fig4和Fig5所示的就是此工具,操作方法比较简单,只要根据前文所说的原理以所需要调整的机械手表的快慢来决定是将螺钉旋出一些距离还是旋入一些距离;

       其次,本类型无卡度摆轮的最新代表作来自于欧米茄的专利技术,根据图中所示我们可以了解此无卡度摆轮的主体由摆轮3和四个螺钉11组成,而摆轮3本身又包括了与摆轴配合的中心孔5、四根摆梁4、四个带有内螺纹的凸起7与四个螺钉11配合,欧米茄的此项无卡度摆轮技术最重要的创新点就是将本类型的传统结构方式改变为内旋螺钉,这种设计方式的优势在于可以将摆轮外径最大化,也意味着摆轮可以获得最大的转动惯量需求,而原先的设计方式受到了螺钉位于摆轮外缘的限制,它的操作方式与前文思路是一致的。



2.砝码式无卡度摆轮

       砝码式无卡度摆轮的经典代表作非百达翡丽莫属,此品牌是本类型无卡度摆轮的一贯推崇者,这一点可以从它于1951年获得的专利技术得到证实,此技术以摆轮1与八个可以调整的砝码5为主体,摆轮的外缘2承载了这八个砝码,砝码中心轴4作为砝码转动的支承轴,砝码的形状是字母U形状,包括了外缘3和开口6。

       此砝码摆轮的结构特点是通过砝码中心轴4与具有弹性的U型砝码5同轴配合在一起,同时两者形成摩擦配合被设置在摆轮1的外缘2上。砝码5在径向和轴向都受到中心轴4的制约不会倾斜始终保持水平,并且可以通过一定的扭力克服摩擦力自由转动。砝码5的形状大小可以根据设计的需要来设定,从而满足通过改变砝码的偏心量达到调节摆轮转动惯量的需要,它的材料一般选用密度高的金属,其目的是通过小的转角而得到较大的惯量改变,选用K金、白金或铂金等重金属最为理想。 

       此类型无卡度摆轮的调校方法是根据前文公式中Jb与T的正比例关系,操作者使用专用工具以砝码的开口6为指向转动砝码5,需要调整快慢的时候必须成对的调整。一对砝码由开口指向摆心调整到开口背向摆心手表走快,反之则相反。摆轮偏心的调整可用单个砝码来实现,当需要增加摆轮某一方位的重量时,需要将此方位砝码的开口指向摆心,而当需要减轻摆轮某一方位的重量时,需要将此方位砝码片的开口背向摆心,同时调整若增加摆轮转动惯量,表的平均快慢会走慢,反之则走快。


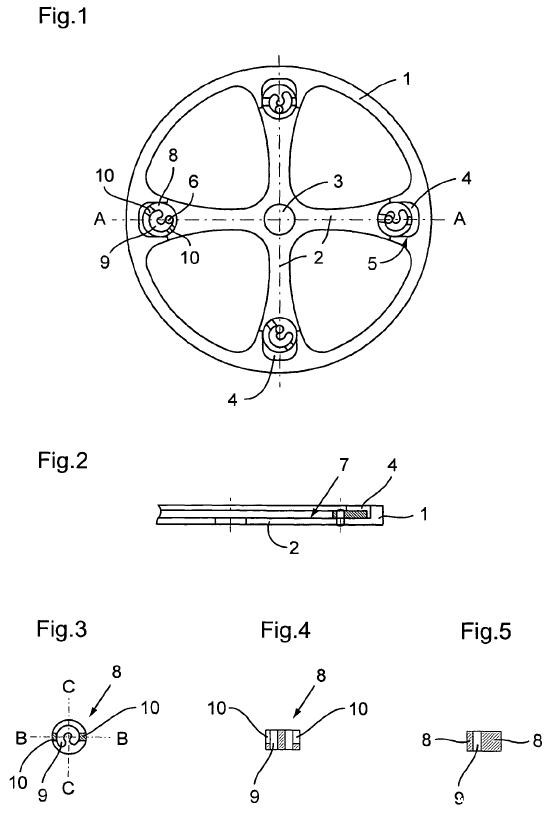
       看过了百达翡丽的经典砝码式无卡度摆轮,我们再来看看百达翡丽的最新专利技术,将两个无卡度摆轮相对比我们可以看到其中的一些细节上的变化,第一个是砝码数量从八个变为更实用的四个,第二个是砝码从U型变为如Fig3至Fig5所示的具有中心U型孔9同时被开槽10的砝码8,那么这种变化相比于原设计方案的好处在哪呢?让我们再看看Fig1和Fig2,砝码8的支承轴6位于中心U型孔9内,当操作者需要调整砝码8的时候,可以使用普通的改锥插入开槽10转动它,并且它的转动轨迹是砝码8的支承轴6以中心U型孔9为导轨转动,从而变化此摆轮的转动惯量。


       说过了砝码式摆轮的鼻祖百达翡丽后,我们可以看看其它品牌是如何创新的?瑞士品牌肖邦的砝码式无卡度摆轮如图中所示,它的设计思路是在摆轮外缘开了四个圆槽4,四个U型并且具有一定弹性的砝码7被压入这四个槽内,由于砝码7自身带有弹性压靠在圆槽4的内壁上,这样砝码7就被相对固定在摆轮上了,此砝码式无卡度摆轮的操作方法与百达翡丽的那个经典款比较类似,专用工具以圆槽的中心孔6为定位,以砝码的内侧形状为依托来旋转砝码7变换摆轮的转动惯量;


       基于无卡度结构可以进一步提高高档机械手表计时精度的显著优越性,国产品牌海鸥自主设计研发并获得了国家实用新型专利中的“一种手表的可调节摆轮200920250256.2”,就是专门为了海鸥陀飞轮表设计的砝码式无卡度摆轮,虽然这种创新结构在国外已经应用了上百年,可是对于国产表来说还属于探索阶段,海鸥的此款砝码式无卡度摆轮最重要的创新点是在尽量适应本厂加工能力的前提下,将原本相对比较难加工的结构简单化,同时采用了工艺性好便于加工可以适当批量生产的机构。经过将近两年时间的不断尝试,海鸥的砝码式无卡度摆轮被应用于陀飞轮,并且取得了不错的效果,如今此结构已经被批量采用,首批装配到自产的ST8260W陀飞轮机械手表当中。


       通过对无卡度摆轮基础理论的介绍,以及现行机械手表的有卡度摆轮与高档机械手表所普遍采用的无卡度摆轮优劣的对比,让我们可以清楚地了解到机械手表在无卡度结构的使用上得到了理论与实践上的论证,同时以螺钉式与砝码式无卡度摆轮为类型,分别以这两种无卡度摆轮的经典应用品牌表款为例,讲解了各品牌具有专利技术的无卡度摆轮的结构特点以及调节快慢的操作方法。


微博推荐

热门推荐
行业资讯
  嘿!你知道吗?1931年,中国近代机械制钟业“... [详细]
  11月26日,省委书记许昆林在丹东市调研,并向... [详细]
  • 1
Baidu
nba优米直播